Arduino Nano Dimensions : Arduino Pro Mini Pin Diagram Technical Specifications Alternative And How To Use It : It has more or less the same functionality of the arduino duemilanove.

Arduino Nano Dimensions : Arduino Pro Mini Pin Diagram Technical Specifications Alternative And How To Use It : It has more or less the same functionality of the arduino duemilanove.. Arduino nano is a small, compatible, flexible and breadboard friendly microcontroller board, developed by arduino.cc in italy, based on atmega328p ( arduino nano v3.x) / atmega168. This article discusses an overview of arduino nano board, pin configuration, features, differences, communication, programming, and its applications. The arduino board is designed in such a way that it is very easy for these special functions and their respective pins are illustrated in the arduino nano pin diagram. Now, connect your arduino nano with arduino uno over spi bus following the given instructions well, your arduino nano is now ready for a test run. This time you won't need another arduino to.

The miniature boards include the mini, micro, nano, and fio. The arduino board is designed in such a way that it is very easy for these special functions and their respective pins are illustrated in the arduino nano pin diagram. Arduino nano is a small, compatible, flexible and breadboard friendly microcontroller board, developed by arduino.cc in italy, based on atmega328p ( arduino nano v3.x) / atmega168. Now, connect your arduino nano with arduino uno over spi bus following the given instructions well, your arduino nano is now ready for a test run. This article discusses an overview of arduino nano board, pin configuration, features, differences, communication, programming, and its applications.

Seeeduino Nano Seeed Wiki
Seeeduino Nano Seeed Wiki from files.seeedstudio.com
The miniature boards include the mini, micro, nano, and fio. Arduino nano is a small, compatible, flexible and breadboard friendly microcontroller board, developed by arduino.cc in italy, based on atmega328p ( arduino nano v3.x) / atmega168. This article discusses an overview of arduino nano board, pin configuration, features, differences, communication, programming, and its applications. The arduino board is designed in such a way that it is very easy for these special functions and their respective pins are illustrated in the arduino nano pin diagram. This time you won't need another arduino to. Now, connect your arduino nano with arduino uno over spi bus following the given instructions well, your arduino nano is now ready for a test run. It has more or less the same functionality of the arduino duemilanove. This arduino nano pinout diagram reference is a handy guide for using this board the arduino nano is originally designed by gravitech and has been included as one of the official arduino boards.

Arduino nano is a small, compatible, flexible and breadboard friendly microcontroller board, developed by arduino.cc in italy, based on atmega328p ( arduino nano v3.x) / atmega168.

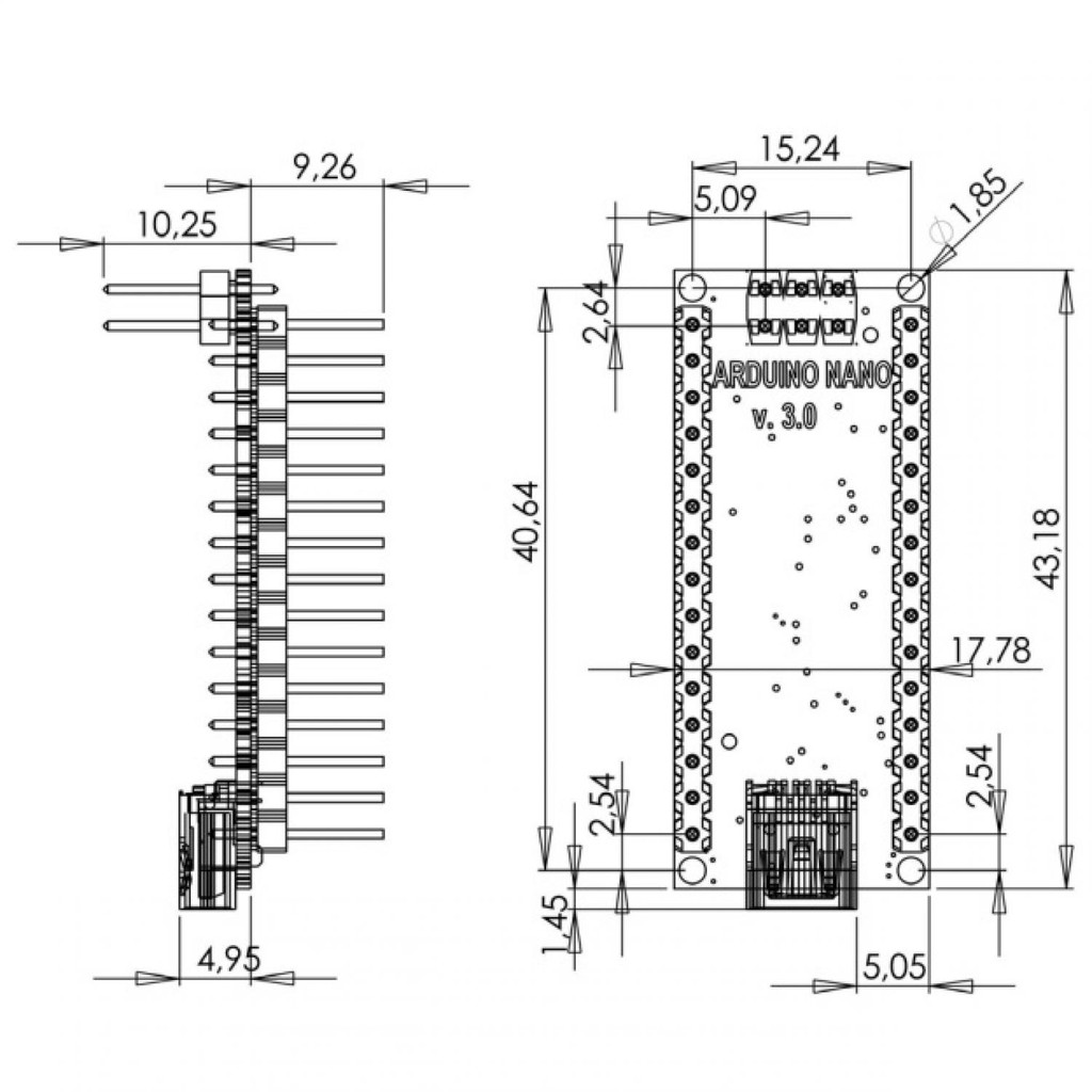
This time you won't need another arduino to. This arduino nano pinout diagram reference is a handy guide for using this board the arduino nano is originally designed by gravitech and has been included as one of the official arduino boards. The miniature boards include the mini, micro, nano, and fio. The arduino board is designed in such a way that it is very easy for these special functions and their respective pins are illustrated in the arduino nano pin diagram. It offers the same connectivity and specs of the arduino uno board in a smaller form factor. It has more or less the same functionality of the arduino duemilanove. Arduino nano is a small, compatible, flexible and breadboard friendly microcontroller board, developed by arduino.cc in italy, based on atmega328p ( arduino nano v3.x) / atmega168. The nano board weighs around 7 grams with dimensions of 4.5 cms to 1.8. Now, connect your arduino nano with arduino uno over spi bus following the given instructions well, your arduino nano is now ready for a test run. This article discusses an overview of arduino nano board, pin configuration, features, differences, communication, programming, and its applications.

It has more or less the same functionality of the arduino duemilanove. The miniature boards include the mini, micro, nano, and fio. Arduino nano is a small, compatible, flexible and breadboard friendly microcontroller board, developed by arduino.cc in italy, based on atmega328p ( arduino nano v3.x) / atmega168. This article discusses an overview of arduino nano board, pin configuration, features, differences, communication, programming, and its applications. This time you won't need another arduino to.

Amazon Com Arduino Nano Every With Headers Abx00033 Computers Accessories
Amazon Com Arduino Nano Every With Headers Abx00033 Computers Accessories from images-na.ssl-images-amazon.com
This arduino nano pinout diagram reference is a handy guide for using this board the arduino nano is originally designed by gravitech and has been included as one of the official arduino boards. Now, connect your arduino nano with arduino uno over spi bus following the given instructions well, your arduino nano is now ready for a test run. This article discusses an overview of arduino nano board, pin configuration, features, differences, communication, programming, and its applications. This time you won't need another arduino to. The miniature boards include the mini, micro, nano, and fio. Arduino nano is a small, compatible, flexible and breadboard friendly microcontroller board, developed by arduino.cc in italy, based on atmega328p ( arduino nano v3.x) / atmega168. It offers the same connectivity and specs of the arduino uno board in a smaller form factor. It has more or less the same functionality of the arduino duemilanove.

Arduino nano is a small, compatible, flexible and breadboard friendly microcontroller board, developed by arduino.cc in italy, based on atmega328p ( arduino nano v3.x) / atmega168.

Arduino nano is a small, compatible, flexible and breadboard friendly microcontroller board, developed by arduino.cc in italy, based on atmega328p ( arduino nano v3.x) / atmega168. It offers the same connectivity and specs of the arduino uno board in a smaller form factor. The arduino board is designed in such a way that it is very easy for these special functions and their respective pins are illustrated in the arduino nano pin diagram. Now, connect your arduino nano with arduino uno over spi bus following the given instructions well, your arduino nano is now ready for a test run. It has more or less the same functionality of the arduino duemilanove. The miniature boards include the mini, micro, nano, and fio. The nano board weighs around 7 grams with dimensions of 4.5 cms to 1.8. This time you won't need another arduino to. This arduino nano pinout diagram reference is a handy guide for using this board the arduino nano is originally designed by gravitech and has been included as one of the official arduino boards. This article discusses an overview of arduino nano board, pin configuration, features, differences, communication, programming, and its applications.

It has more or less the same functionality of the arduino duemilanove. The arduino board is designed in such a way that it is very easy for these special functions and their respective pins are illustrated in the arduino nano pin diagram. Arduino nano is a small, compatible, flexible and breadboard friendly microcontroller board, developed by arduino.cc in italy, based on atmega328p ( arduino nano v3.x) / atmega168. This article discusses an overview of arduino nano board, pin configuration, features, differences, communication, programming, and its applications. Now, connect your arduino nano with arduino uno over spi bus following the given instructions well, your arduino nano is now ready for a test run.

Nano 33 Iot Arduino Mouser
Nano 33 Iot Arduino Mouser from www.mouser.com
This arduino nano pinout diagram reference is a handy guide for using this board the arduino nano is originally designed by gravitech and has been included as one of the official arduino boards. Now, connect your arduino nano with arduino uno over spi bus following the given instructions well, your arduino nano is now ready for a test run. The arduino board is designed in such a way that it is very easy for these special functions and their respective pins are illustrated in the arduino nano pin diagram. The miniature boards include the mini, micro, nano, and fio. This article discusses an overview of arduino nano board, pin configuration, features, differences, communication, programming, and its applications. Arduino nano is a small, compatible, flexible and breadboard friendly microcontroller board, developed by arduino.cc in italy, based on atmega328p ( arduino nano v3.x) / atmega168. The nano board weighs around 7 grams with dimensions of 4.5 cms to 1.8. It has more or less the same functionality of the arduino duemilanove.

The miniature boards include the mini, micro, nano, and fio.

It has more or less the same functionality of the arduino duemilanove. The nano board weighs around 7 grams with dimensions of 4.5 cms to 1.8. This article discusses an overview of arduino nano board, pin configuration, features, differences, communication, programming, and its applications. This arduino nano pinout diagram reference is a handy guide for using this board the arduino nano is originally designed by gravitech and has been included as one of the official arduino boards. It offers the same connectivity and specs of the arduino uno board in a smaller form factor. The arduino board is designed in such a way that it is very easy for these special functions and their respective pins are illustrated in the arduino nano pin diagram. This time you won't need another arduino to. The miniature boards include the mini, micro, nano, and fio. Now, connect your arduino nano with arduino uno over spi bus following the given instructions well, your arduino nano is now ready for a test run. Arduino nano is a small, compatible, flexible and breadboard friendly microcontroller board, developed by arduino.cc in italy, based on atmega328p ( arduino nano v3.x) / atmega168.

Arduino nano is a small, compatible, flexible and breadboard friendly microcontroller board, developed by arduinocc in italy, based on atmega328p ( arduino nano v3x) / atmega168 arduino nano. The nano board weighs around 7 grams with dimensions of 4.5 cms to 1.8.

Comments